火绒安全软件
标题: 这个毒杀了好久还是杀不了 [打印本页]
作者: azzqaa    时间: 2019-8-29 14:30
标题: 这个毒杀了好久还是杀不了
 本帖最后由 azzqaa 于 2019-8-29 14:37 编辑 
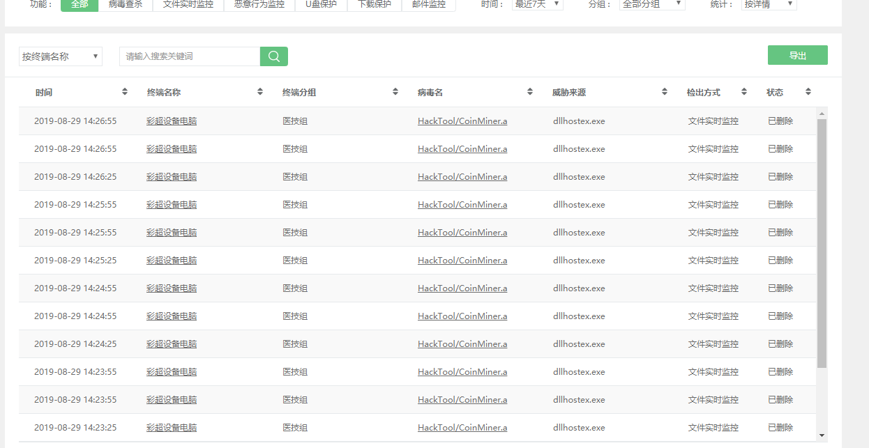
病毒ID : A9AF5C81F530B21F
病毒名称 : HackTool/CoinMiner.a
威胁来源 : C:\WINDOWS\system32\dllhostex.exe
检出方式 : 文件实时监控
状态 : 已删除
删除了又有.. 这是企业版啊..  用个人版就能杀掉,为何 企业版就不行
- 
  
- 
  
- 
dllhostex.zip
 891.39 KB, 下载次数: 6, 下载积分: 金钱 -1  
 
作者: 火绒运营专员    时间: 2019-8-29 14:33
您好,您方便把病毒的样本发过来了吗?我们本地验证下,感谢您的反馈~
作者: azzqaa    时间: 2019-8-29 14:37
已上传请查看
作者: 纷扰的互联网    时间: 2019-8-29 14:39
你进行全网查杀了么?
作者: azzqaa    时间: 2019-8-29 14:42
只是 XP电脑传播  并且  个人版 火绒是能够杀掉的. 企业版 就无限杀 无限生成..自动处理的 弹窗还 关不掉,科室都疯了
作者: 火绒运营专员    时间: 2019-8-29 14:50
好的,我们会尽快验证。
作者: 纷扰的互联网    时间: 2019-8-29 15:06
这种的 我觉得远程好些 至少把问题先让工程师解决了(人工查杀) 那么方便远程或者你留一个联系方式具体查看现场好些
作者: 火绒运营专员    时间: 2019-8-30 15:16
您好,请添加QQ1848573058,我们需要远程看下问题~请尽快添加哦~
作者: azzqaa    时间: 2019-8-30 16:20
已经下载 个人版 进行查杀了.
作者: 火绒运营专员    时间: 2019-8-30 16:33
您方便上传一下之前企业版的那个无限生成自动处理的那个查杀日志吗?我们想分析一下原因~
作者: azzqaa    时间: 2019-8-30 17:06
之前的 本地日志没了 只能从控制中心 给你找日志了
- 
  
- 
log.zip
 12.31 KB, 下载次数: 10, 下载积分: 金钱 -1  
 
作者: 火绒运营专员    时间: 2019-8-30 17:56
您之前有全盘查杀过吗,看您日志都是文件监控的报,也可以加下上面工作人员QQ,我们帮您看下
作者: 火绒运营专员    时间: 2019-8-31 15:16
您可以留个QQ吗,我们这边加您,需要远程看下的
作者: 火绒运营专员    时间: 2019-9-3 10:50
楼主您好,未收到您的添加申请,不知您的问题解决了嘛?如果还未解决可以加楼上的QQ,我们远程帮您处理一下,感谢您的反馈~
作者: 火绒运营专员    时间: 2019-9-9 11:03
楼主您好,一周仍未收到您的好友请求,您的帖子帮您关闭了,后续有问题麻烦到论坛发新帖,会有专人帮您跟进的~再次感谢您的支持
| 欢迎光临 火绒安全软件 (https://bbs.huorong.cn/) | Powered by Discuz! X3.4 |