火绒安全软件

求助20240204

查看数: 2970 | 评论数: 7 | 收藏 0
关灯 | 提示:支持键盘翻页<-左 右->
    组图打开中,请稍候......
发布时间: 2024-2-4 10:29

正文摘要:

公司服务器每天都有大量IP黑名单尝试联入,全盘扫描也没有查出问题,虽然都被火绒阻止了但总感觉不安全了。

回复

火绒运营专员 发表于 2024-2-6 16:17:31
您好,您的问题在QQ中给您答复,感谢您的反馈~
火绒运营专员 发表于 2024-2-4 11:33:21
cl0ud 发表于 2024-2-4 11:29
【1】2024-02-04 10:56:55,高级防护,IP黑名单,141.98.11.58尝试联入,已阻止

备注名称:20231212

您好,麻烦您通过下好友请求,这边协助您解决下哈~
火绒运营专员 发表于 2024-2-4 11:33:06
cl0ud 发表于 2024-2-4 11:29
【1】2024-02-04 10:56:55,高级防护,IP黑名单,141.98.11.58尝试联入,已阻止

备注名称:20231212

您好,QQ上和您答复。
cl0ud 发表于 2024-2-4 11:29:19
【1】2024-02-04 10:56:55,高级防护,IP黑名单,141.98.11.58尝试联入,已阻止

备注名称:20231212
远程地址:141.98.11.58:64661
触犯动作:联入
防御结果:已阻止

>>>>>>>>>>>>>>>>>>>>>>>>>>>>>>>>>>>>>>>>>>>>>>>>>>>>>>>>>>>>>>>>>>>>>>>>>>>>>>>>

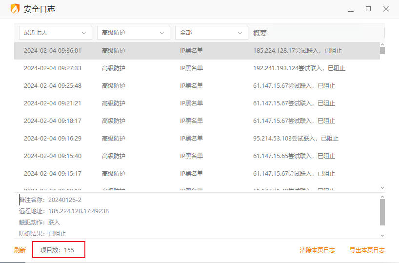
【2】2024-02-04 09:36:01,高级防护,IP黑名单,185.224.128.17尝试联入,已阻止

备注名称:20240126-2
远程地址:185.224.128.17:49238
触犯动作:联入
防御结果:已阻止

>>>>>>>>>>>>>>>>>>>>>>>>>>>>>>>>>>>>>>>>>>>>>>>>>>>>>>>>>>>>>>>>>>>>>>>>>>>>>>>>

【3】2024-02-04 09:27:33,高级防护,IP黑名单,192.241.193.124尝试联入,已阻止

备注名称:20231212
远程地址:192.241.193.124:51010
触犯动作:联入
防御结果:已阻止

>>>>>>>>>>>>>>>>>>>>>>>>>>>>>>>>>>>>>>>>>>>>>>>>>>>>>>>>>>>>>>>>>>>>>>>>>>>>>>>>

【4】2024-02-04 09:25:48,高级防护,IP黑名单,61.147.15.67尝试联入,已阻止

备注名称:20231212
远程地址:61.147.15.67:60094
触犯动作:联入
防御结果:已阻止

>>>>>>>>>>>>>>>>>>>>>>>>>>>>>>>>>>>>>>>>>>>>>>>>>>>>>>>>>>>>>>>>>>>>>>>>>>>>>>>>

【5】2024-02-04 09:21:21,高级防护,IP黑名单,61.147.15.67尝试联入,已阻止

备注名称:20231212
远程地址:61.147.15.67:39220
触犯动作:联入
防御结果:已阻止

>>>>>>>>>>>>>>>>>>>>>>>>>>>>>>>>>>>>>>>>>>>>>>>>>>>>>>>>>>>>>>>>>>>>>>>>>>>>>>>>

【6】2024-02-04 09:18:17,高级防护,IP黑名单,61.147.15.67尝试联入,已阻止

备注名称:20231212
远程地址:61.147.15.67:43188
触犯动作:联入
防御结果:已阻止

>>>>>>>>>>>>>>>>>>>>>>>>>>>>>>>>>>>>>>>>>>>>>>>>>>>>>>>>>>>>>>>>>>>>>>>>>>>>>>>>

【7】2024-02-04 09:16:29,高级防护,IP黑名单,95.214.53.103尝试联入,已阻止

备注名称:20231212
远程地址:95.214.53.103:53904
触犯动作:联入
防御结果:已阻止

>>>>>>>>>>>>>>>>>>>>>>>>>>>>>>>>>>>>>>>>>>>>>>>>>>>>>>>>>>>>>>>>>>>>>>>>>>>>>>>>

【8】2024-02-04 09:15:40,高级防护,IP黑名单,61.147.15.65尝试联入,已阻止

备注名称:20231212
远程地址:61.147.15.65:60718
触犯动作:联入
防御结果:已阻止

>>>>>>>>>>>>>>>>>>>>>>>>>>>>>>>>>>>>>>>>>>>>>>>>>>>>>>>>>>>>>>>>>>>>>>>>>>>>>>>>

【9】2024-02-04 09:15:17,高级防护,IP黑名单,61.147.15.67尝试联入,已阻止

备注名称:20231212
远程地址:61.147.15.67:63342
触犯动作:联入
防御结果:已阻止

>>>>>>>>>>>>>>>>>>>>>>>>>>>>>>>>>>>>>>>>>>>>>>>>>>>>>>>>>>>>>>>>>>>>>>>>>>>>>>>>

【10】2024-02-04 09:13:18,高级防护,IP黑名单,61.147.21.49尝试联入,已阻止

备注名称:20231212
远程地址:61.147.21.49:10756
触犯动作:联入
防御结果:已阻止
火绒运营专员 发表于 2024-2-4 10:59:09

您好,已发送申请,麻烦通过。
cl0ud 发表于 2024-2-4 10:55:00
3813153131
火绒运营专员 发表于 2024-2-4 10:34:00
您好,麻烦您留下QQ,协助您排查下
快速回复 返回顶部 返回列表